rear cover (YM347A-BR)

Back to Category List
Showing 2 Results
REAR COVER (YM347A-BR)
Select your preferred dealer:
Products will be delivered from Yanmar, not the dealer.
We're looking for dealers in the following zip code:
zipcode 43215
Select
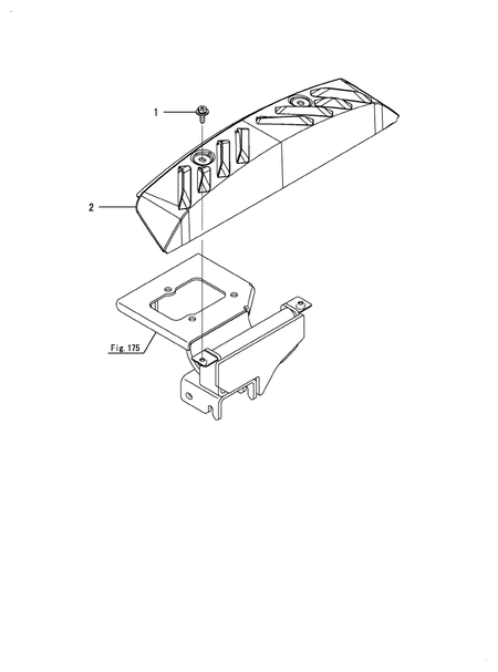
1
BOLT, M6X20
198072-60590
0
Suggested price
$1.80
2
COVER, BONNET
1A8252-61250
0
Suggested price
$78.86