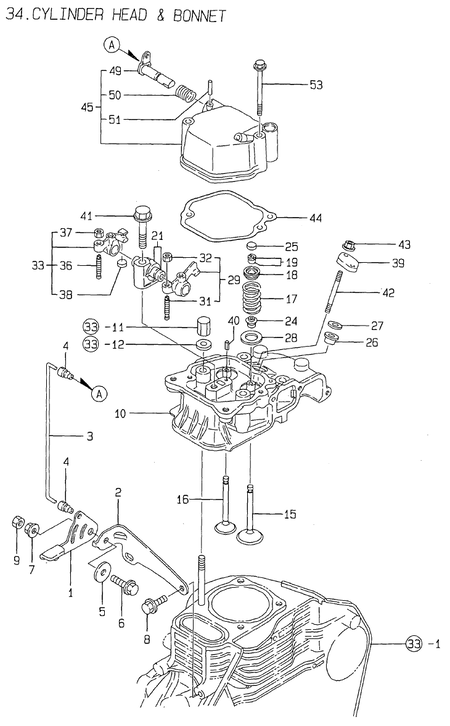
cylinder head & bonnet (L40AE-DP2D)
Back to Category List
Showing 33 Results
add to quantity
LEVER, DECOMPRESSION
this part is not available for order at this time
add to quantity
LINK
this part is not available for order at this time
add to quantity
JOINT
this part is not available for order at this time
add to quantity
JOINT
this part is not available for order at this time
add to quantity
COLLAR
this part is not available for order at this time
add to quantity
BOLT, M6X 20 PLATED
this part is not available for order at this time
add to quantity
NUT, M6
this part is not available for order at this time
add to quantity
SCREW, TAPPING M6X14
this part is not available for order at this time
add to quantity
NUT, LOCK M6
this part is not available for order at this time
add to quantity
HEAD ASSY, CYLINDER
this part is not available for order at this time
add to quantity
VALVE, INTAKE
this part is not available for order at this time
add to quantity
VALVE, EXHAUST
this part is not available for order at this time
add to quantity
SPRING, VALVE
this part is not available for order at this time
add to quantity
RETAINER, SPRING
this part is not available for order at this time
add to quantity
COTTER, 5.5
this part is not available for order at this time
add to quantity
SUPPORT, ROCKER ARM
this part is not available for order at this time
add to quantity
SEAL, VALVE STEM
this part is not available for order at this time
add to quantity
CAP, VALVE
this part is not available for order at this time
add to quantity
GASKET, NOZZLE
this part is not available for order at this time
add to quantity
SPACER, NOZZLE
this part is not available for order at this time
add to quantity
WASHER
this part is not available for order at this time
add to quantity
ARM, ROCKER
this part is not available for order at this time
add to quantity
SCREW, VALVE ADJUST
this part is not available for order at this time
add to quantity
ARM ASSY, ROCKER
this part is not available for order at this time
add to quantity
RETAINER, NOZZLE
this part is not available for order at this time
add to quantity
PIN, SPRING 4.0X 8
this part is not available for order at this time
add to quantity
BOLT, M8X 45 PLATED
this part is not available for order at this time
add to quantity
STUD, M6X 50
this part is not available for order at this time
add to quantity
GASKET, BONNET
this part is not available for order at this time
add to quantity
BONNET ASSY, HEAD
this part is not available for order at this time
add to quantity
SHAFT, DECOMPRESSION
this part is not available for order at this time
add to quantity
SPRING,DECOMPRESSION
this part is not available for order at this time
add to quantity
PIN, PARALLEL M3X16
this part is not available for order at this time
add to quantity
BOLT, M6X 55 PLATED
this part is not available for order at this time
1
LEVER, DECOMPRESSION
183250-03410
Suggested price
$14.04 MSRP
3
LINK, DECOMPRESSION
183250-03510
Out of Stock
4
JOINT
183250-03550
Suggested price
$7.70 MSRP
5
COLLAR
160670-66350
Suggested price
$7.79 MSRP
6
BOLT, M6X 20 PLATED
New Part Number: 26106-060202
Old Part Number(s): 26107-060202, 26015-060202
Minimum Sales Quantity: 10
Suggested price
$1.74 MSRP / $17.40
7
NUT, M6
New Part Number: 26366-060002
Old Part Number(s): 26367-060002, 160260-01800, 26337-060002
Minimum Sales Quantity: 10
Not for Sale Online
8
SCREW, TAPPING M6X14
New Part Number: 26476-060142
Old Part Number(s): 160610-04300
Minimum Sales Quantity: 10
Suggested price
$1.93 MSRP / $19.30
9
NUT, LOCK M6
New Part Number: 26756-060002
Old Part Number(s): 26757-060002, 26757-060002-W
Minimum Sales Quantity: 10
Not for Sale Online
10
HEAD ASSY, CYLINDER
New Part Number: 114770-11020
Old Part Number(s): 114250-11020
Suggested price
$379.76 MSRP
15
VALVE, INTAKE
114250-11101
Suggested price
$21.74 MSRP
16
VALVE, EXHAUST
New Part Number: 114250-11113
Old Part Number(s): 114250-11112, 114250-11111
Out of Stock
17
SPRING, VALVE
114250-11120
Suggested price
$4.60 MSRP
18
RETAINER, SPRING
114250-11180
Suggested price
$4.71 MSRP
19
COTTER, 5.5
New Part Number: 27310-055001
Old Part Number(s): 114250-11190, 714250-11570, 27310-055000
Suggested price
$4.14 MSRP
21
SUPPORT ASSY, ROCKER
114250-11290
Suggested price
$22.59 MSRP
24
SEAL, VALVE STEM
New Part Number: 114250-11341
Old Part Number(s): 114250-11340
Suggested price
$4.95 MSRP
25
CAP, VALVE
119260-11370
Suggested price
$9.61 MSRP
26
GASKET, NOZZLE
114250-11460
Suggested price
$13.02 MSRP
27
SPACER, NOZZLE
114350-11470
Suggested price
$5.19 MSRP
28
WASHER, VALVE SPRING
114250-11600
Suggested price
$5.04 MSRP
29
ARM ASSY, ROCKER
New Part Number: 114250-11651
Old Part Number(s): 114250-11200
Suggested price
$35.97 MSRP
31
SCREW, VALVE ADJUST
New Part Number: 114250-11240
Old Part Number(s): 114299-11240
Suggested price
$5.15 MSRP
33
ARM ASSY, ROCKER EXH
714270-11660
Suggested price
$35.97 MSRP
39
RETAINER, NOZZLE
New Part Number: 114250-11901
Old Part Number(s): 114250-11900
Suggested price
$9.31 MSRP
40
PIN, SPRING 4.0X 8
22351-040008
Minimum Sales Quantity: 10
Not for Sale Online
41
BOLT, M8X 45 PLATED
26106-080452
Minimum Sales Quantity: 10
Suggested price
$1.94 MSRP / $19.40
42
STUD, M6X 50
26226-060502
Suggested price
$1.94 MSRP
44
GASKET, BONNET
New Part Number: 114250-11311
Old Part Number(s): 114250-11310
Suggested price
$4.80 MSRP
45
BONNET ASSY, HEAD
New Part Number: 183250-11953
Old Part Number(s): 183250-11952, 183250-11951
Out of Stock
49
SHAFT, DECOMPRESSION
183250-03601
Out of Stock
50
SPRING,DECOMPRESSION
114250-03640
Suggested price
$3.17 MSRP
51
PIN, PARALLEL M3X16
22312-030160
Suggested price
$2.54 MSRP
53
BOLT, M6X 55 PLATED
26106-060552
Minimum Sales Quantity: 10
Suggested price
$1.94 MSRP / $19.40