lubricating oil sump (4T112TLE-PP)
Back to Category List
Showing 14 Results
add to quantity
OIL PAN ASSY
this part is not available for order at this time
add to quantity
COVER ASSY, OIL PAN
this part is not available for order at this time
add to quantity
GASKET, COVER
this part is not available for order at this time
add to quantity
PLUG, 16
this part is not available for order at this time
add to quantity
WASHER, SEAL 16
this part is not available for order at this time
add to quantity
BOLT, M8X 18
this part is not available for order at this time
add to quantity
GUIDE, DIPSTICK
this part is not available for order at this time
add to quantity
WASHER, SEAL 16
this part is not available for order at this time
add to quantity
WASHER, SEAL 16
this part is not available for order at this time
add to quantity
BOLT, M8X 40 PLATED
this part is not available for order at this time
add to quantity
BOLT, M8X120 PLATED
this part is not available for order at this time
add to quantity
BOLT, M14X 50 PLATED
this part is not available for order at this time
add to quantity
GASKET, OIL PAN
this part is not available for order at this time
add to quantity
WASHER, 14
this part is not available for order at this time
add to quantity
DIPSTICK, OIL
this part is not available for order at this time
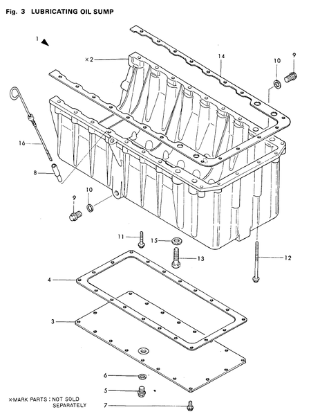
1
OIL PAN ASSY
New Part Number: 123550-01791
Old Part Number(s): 123550-01790, 723560-01540
Not for Sale Online
3
COVER ASSY, OIL PAN
New Part Number: 123500-01760
Old Part Number(s): 123500-01721
Not for Sale Online
4
GASKET, COVER
New Part Number: 123500-01732
Old Part Number(s): 123500-01731
Not for Sale Online
5
PLUG, DRAIN M16
New Part Number: 105425-01690
Old Part Number(s): 114299-01690, 104200-01690
Suggested price
$3.98
6
WASHER, SEAL 16
New Part Number: 22190-160002
Old Part Number(s): 43400-500490
Minimum Sales Quantity: 10
Not for Sale Online
7
BOLT, M8X 18
26013-080182
Minimum Sales Quantity: 10
Out of Stock
8
GUIDE, DIPSTICK
121520-34810
Suggested price
$8.66
10
WASHER, SEAL 16
New Part Number: 22190-160002
Old Part Number(s): 43400-500490
Minimum Sales Quantity: 10
Not for Sale Online
11
BOLT, M8X 40 PLATED
26106-080402
Minimum Sales Quantity: 10
Suggested price
$1.63 / $16.30
12
BOLT, M8X120 PLATED
New Part Number: 26106-081202
Old Part Number(s): 129001-91910
Minimum Sales Quantity: 10
Suggested price
$2.04 / $20.40
13
BOLT, M14X 50 PLATED
26156-140502
Out of Stock
14
GASKET, OIL PAN
New Part Number: 123500-01711
Old Part Number(s): 123500-01710
Not for Sale Online
15
WASHER, 14
New Part Number: 22117-140000
Old Part Number(s): 22127-140000
Minimum Sales Quantity: 10
Suggested price
$1.95 / $19.50
16
DIPSTICK, OIL
171420-34820
Suggested price
$42.12